Fog + Quartz Accelerometer Combined Imu Fiber Optic Gyroscope & Quartz Accelerometer High Precision Inertial Sensor
UF500 are high performance and cost-effective fiber optic gyroscopes based IMU combined with either with quartz flexible accelerometer or MEMS accelerometer, which can be used for navigation, control, and dynamic measurement. It has the advantages of small size, light weight, no moving parts, high reliability, and long service life. It can be widely used in aviation, aerospace, ships, weapons, coal mine measurement, automotive electronics and other fields.
Part No, :
UF500Order(MOQ) :
1Product Series and Parameters
| Main device characteristics | ||||
| Fiber optic gyroscope | Range | ±360°/s | ||
| Zero bias stability | ≤0.1°/h(Allan variance) | Zero bias repeatability | ≤0.8°/h(1σ) | |
| Scale repeatability | ≤100ppm | Scale nonlinearity | ≤100ppm | |
| Quartz flexible accelerometer | Range | ±50g | ||
| Zero bias stability | ≤0.02mg(Allan variance) | Zero bias repeatability | ≤0.1mg(1σ) | |
| Scale repeatability | ≤100ppm | Scale nonlinearity | ≤100ppm | |
| Other characteristics | ||||
| Data update rate | 200HZ | Communication interface | RS422 | |
| Supply voltage | 12~36V DC | Power consumption | ≤15W | |
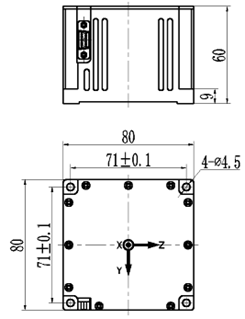
| Weight | ≤ 1Kg | Size | ≤80×80×60mm | |
| Working temperature | (-40℃~+70℃) | Storage temperature | -55℃~+85℃ | |
| Vibration | 6.06g, 20-2000Hz, random bandwidth | Shocking | 15g, 11ms 1/2sine wave |
|
Production process
Product dimension

Application Scenarios



FAQ
Xml Privacy Policy Blog Sitemap
copyright @ Micro-Magic Inc All Rights Reserved.
Network Supported